根据应急管理部消防救援局《关于全面推行“双随机、一公开”消防监管工作的通知》(应急消〔2019〕241号)及省消防救援总队推行“双随机、一公开”消防监管工作的要求,现将商州区消防救援大队2025年9月份“双随机、一公开”消防监督检查抽查任务公示如下:
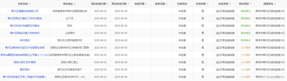
2025年9月份商洛市商州区消防救援大队“双随机、一公开”消防监督日常检查抽查单位



被检查单位需要做哪些准备?
一、安排人员配合现场检查
通知单位法定代表人或被授权委托人、分管领导、消防安全管理人、归口管理部门负责人,以及消防技术服务机构项目负责人、物业管理单位项目负责人等到场配合检查。
二、准备相关台账材料复查
1。消防安全管理制度类
(1)部门、岗位消防安全职责。
(2)消防安全教育、培训制度。
(3)防火巡查、检查制度。
(4)安全疏散设施管理制度。
(5)消防(控制室)值班管理制度。
(6)消防设施、器材维护管理制度。
(7)火灾隐患整改制度。
(8)用火、用电安全管理制度。
(9)易燃易爆危险物品和场所防火防爆管理制度。
(10)专职消防队、微型消防站或义务消防队组织管理制度。
(11)灭火和应急疏散预案演练制度。
(12)燃气和电气设备检查和管理制度(含防雷、防静电)。
(13)施工现场消防安全管理制度。
(14)消防安全工作考评和奖惩制度。
(15) 租赁场所安全管理制度和消防安全管理分工文件。
(16)其他结合单位情况制定的消防安全制度。
2。消防工作记录类
(1)防火检查记录。
(2)防火巡查记录。
(3)消防控制室值班记录。
(4)火灾隐患整改记录。
(5)灭火救援演练资料。
(6)消防宣传工作记录。
(7)员工消防安全培训记录。
(8)新进员工、转岗员工岗前培训记录。
(9)特殊工种、重要岗位培训资格证书。
(10)消防设施设备、特种设备操作规程。
(11)消防设施设备维保记录。
(12)自动消防设施维保记录
(13)年度消防安全评估报告。
(14)油烟管道清洗记录。
(15)动火作业审批、监督记录。
(16)竣工验收总平面图和消防设计文件。
(17)单位建设工程、改建项目(含内装修)消防验收意见书或安全检查合格证。
(18)消防工作考评和奖惩实施记录。



陕公网安备 61100202000011号